背景技术
高中物理教学中,目前在进行测定浮力时,通常用的方法是称量法和公式法(阿基米德原理),在用阿基米德原理测试浮力时,因为首先要在容器中注满液体,当将物体放置在容器中后,液体会顺着容器壁流出,教师通过测定流出容器的液体重量就能得到物体在液体中受到的浮力。但是在这个过程中,存在一个亟待解决的问题,那就是,因为流出的液体有很多会挂在容器的外壁上,这就导致后期测量排出液体的重量与物体实际的浮力之间的误差较大,测量不够精确,不利于验证阿基米德公式。目前为了减少上述误差,通常是当没有液体向外流时,再停留一段时间,确保容器外壁上的溶液尽可能被全部收集,但是如果是高温的夏天在停留的时间段内,溶液会被快速蒸发,这也能造成测定的浮力与排除液体的重量之间存在较大的误差,不利于学生理解阿基米德原理。
实用新型教具内容
针对现有阿基米德原理验证实验装置存在的上述问题,提供一种新型高中物理教学实验用具。
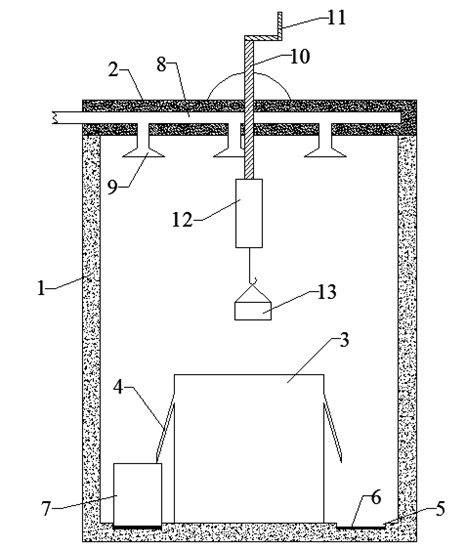
本教具包括透明的箱体以及与箱体可拆卸连接的箱盖。
箱盖内设置有进气管并延伸到箱盖外,箱盖外的出气管与液氮罐连接,箱体侧壁上开设有出气口,进气管上连通有能够向箱体的内腔输入气体的出气管。箱盖上螺纹连接有竖向的螺纹杆,螺纹杆贯穿箱盖的厚度,螺纹杆的上端与摇把固定连接,螺纹杆的下端固定连接有竖向的弹簧测力计,弹簧测力计的下端悬挂有重物。当旋转摇把,且螺纹杆向下移动时,重物落入固定设置在箱体底面的透明的测量容器内,侧壁上端设置有与测量容器内腔相连通的出液管。箱体的底面还设有用于接收出液管流出的液体的液体收集容器。
出液管倾斜向下设置。箱体的底面上且在放置液体收集容器的位置上设置有压力传感器,箱体的侧壁上设置有控制器和显示屏,压力传感器、显示屏均与控制器电性连接。箱体内腔的底面设置有用于限位液体收集容器的凹槽,凹槽的底面卡设有压力传感器。
使用过程
当需要用本教具进行浮力实验时,实验人员打开箱盖2,将液体收集容器7放置在凹槽5内,然后向测量容器3内注入液体,例如水,注入水的量既需要确保水充满测量容器3,又需要确保水不会从出液管4流出为止;然后实验人员保持箱盖2水平,并在弹簧测力计12的下端悬挂重物13,记录此时弹簧测力计12的读数,此时的读数为重物13的重力;然后,实验人员将箱盖2盖在箱体1的上端;最后,实验人员通过摇摇把11使螺纹杆10向箱体1的底面移动,同时带着重物13向下移动,直到重物13落入测量容器3中的水中为止。此时,使用者将进气管8与外界的液氮罐连通,液氮罐中的液氮会挥发,挥发的气体将顺着进气管8,并经过出气管9进入箱体1的内腔,对箱体1的内腔进行降温。当重物13部分落入测量容器3内时,水会顺着出液管4流入液体收集容器7内,实验人员记录此时弹簧测力计12的读数,等待一段时间,待出液管4没有液体流入液体收集容器7后,记录此时液体收集容器7内液体的重量,根据理论知识和公式验证阿基米德原理。当重物13刚好全部淹没在水中时,实验人员记录此时弹簧测力计12的读数,同时当出液管4内无液体流入液体收集容器7内时,记录液体收集容器7内液体的重量,在根据理论知识和公式验证阿基米德原理。同时实验人员,可以通过螺纹杆10调节重物13浸没在测量容器3中不同的深度,进一步验证阿基米德原理。
当实验结束后,实验人员打开箱盖2,将重物13放置在箱体1底面上,将进气管8与外界液氮罐断开,将液体收集容器7内的水倒掉,并将空的液体收集容器7放置在箱体1内,将测量容器3内的水抽出即可。
使用效果
与现有教具相比,本新型教具可取得明显的有益效果。
因为测量容器3上设置有出液管4,当重物13放置在测量容器3内后,原来就注满水的测量容器3内的水会顺着出液管4流入液体收集容器7内,这样就能够避免从测量容器3内水挂在测量容器3的外侧壁,造成收集的水的重量与实际从测量容器3排出的水的重量存在较大的误差,提高实验的精确度。
因为进气管8与液氮罐连接,液氮会顺着进气管8通过出气管9进入箱体1的内腔,从而对箱体1内腔的环境进行降温,这样就能确保即使在高温的夏天,在等待出液管4内的液体几乎全部流入液体收集容器7的过程中,出液管4内的液体以及液体收集容器7内的液体也不会被快速的蒸发,这样就能进一步的确保从测量容器3内排出的液体的重量与液体收集容器7内收集的液体重量之间的误差认为控制在最小的范围内,确保实验的准确性。

新型教具结构示意图
1.箱体;2.箱盖;3.测量容器;4.出液管;5.凹槽;6.压力传感器;7.液体收集容器;8.进气管;9.出气管;10.螺纹杆;11.摇把;12.弹簧测力计
责编/马铭阳