摘要:针对目前手提式钢筋弯曲机的两凹型轮的距离不可调整的问题,依据TRIZ理论,分析设计过程中存在的技术冲突,应用分割原理,对手提式钢筋弯曲机进行改进设计,提出了设置多组凹型轮的解决方案,有效解决了凹型轮的距离可调的问题。
关键词:TRIZ;钢筋弯曲机;技术冲突;发明原理
1 绪论
钢筋弯曲机是钢筋加工中不可或缺的工具设备之一,广泛应用在建筑场合,它主要用于对钢筋的弯曲和切断。考虑到固定式钢筋弯曲机的不可移动性和难以移动性,手提式钢筋弯曲机也因此而诞生。然而,现有的手提式钢筋弯曲机存在着不能灵活地调整两凹型轮距离的问题,这对于多规格、复杂条件下的钢筋弯曲任务又提出了新的挑战。
TRIZ作为一种创新方法,以能够有效提升人们的创新能力和快速解决各行各业的技术与管理难题而蜚声全球,帮助人们解决了若干棘手的技术难题。TRIZ理论的解题工具之一的40条发明原理也应用广泛,通过将技术冲突转化为TRIZ的标准冲突,在冲突矩阵中查找对应的发明原理来解决。本文将TRIZ的发明原理应用于钢筋弯曲机的改进。

图1 凹型轮位置固定的手提式钢筋弯曲机
2 当前问题的描述
在应用手提式钢筋弯曲机的场合,多面临着钢筋弯曲半径固定、钢筋弯曲程度单一和钢筋弯曲速度较慢的问题。这主要归因于两凹型轮距离固定(如图1所示),不能针对特殊的钢筋直径和钢筋长度完成弯曲和调直的任务。
现有的手提式钢筋弯曲机多为单人一台设备,同时对不同规格的钢筋进行弯曲和调直。由于不同规格的钢筋有不同的直径参数,这就会导致一台设备工作时,在不同的条件下弯曲和调直的任务时间和效率不一。为了减少这种问题的出现,优化钢筋弯曲和调直的过程,需调节支架上的两凹型轮距离,这种距离调节的问题亟待解决,从而解决钢筋弯曲半径固定、钢筋弯曲程度单一和钢筋弯曲速度较慢的问题。分析得知,所面临的问题的原因是凹型轮与支架直接固定。

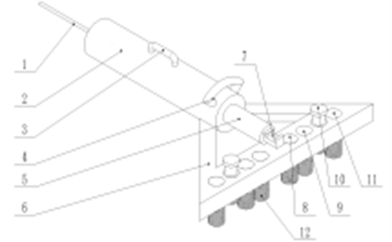
1-导线 2-气压缸 3-第一支撑把手 4-第二支撑把手 5-牙杆 6-支架 7-牙嘴 8-第一凹型轮 9-第二凹型轮 10-第三凹型轮 11-第四凹型轮 12-外螺纹
图2 方案示例
3 基于发明原理的手提式钢筋弯曲机的改进设计
3.1 技术冲突问题的解决原理
技术冲突是指系统的一个方面得到改进时,削弱了另一方面。技术冲突的表现形式为一个系统汇总两个参数A和B,即当A得到改善时,B则变得恶化。解决技术冲突的方式有两种:一是直接应用40个发明原理来解决;二是将所有遇到的问题中的技术冲突用39个通用工程参数进行描述,然后利用冲突矩阵来选择可用的发明原理解决。40个发明原理可以帮助我们解决常见的技术冲突。
3.2 手提式钢筋弯曲机的改进
(1)技术冲突一般化
冲突描述1:调整不同作用时间的钢筋弯曲机的外观结构,调整两凹型轮距离,导致设备在工作过程中易崩件。转化成TRIZ标准冲突改善的参数:通用工程参数12(形状);恶化的参数:通用工程参数13(结构的稳定性)。
冲突描述2:人在任意时刻能够控制弯曲机的两凹型轮距离的距离,同时会使钢筋弯曲机的可靠降低。转化成TRIZ标准冲突改善的参数:通用工程参数33(可操作性);恶化的参数:通用工程参数27(可靠性)。
(2)查找冲突矩阵及发明原理
1号原理(分割):将两凹型轮进行分割,分成无数等大小的两凹型,对称均布在牙杆的两侧,工人可以用工具选择哪一组凹型轮露出以实现支撑功能。
4号原理(不对称):若考虑不对称性原理,会是牙杆在活塞的作用下产生对钢筋的不平衡力,易产生危险,故不予考虑。
27号原理(廉价品替代):钢筋弯曲机属于建筑施工行业关乎建筑成果的质量和稳定性的设备,若用廉价品替代,比如使用橡胶材料的凹型轮,橡胶材料的凹型轮虽然可以在使用过程中自由弯曲调整两轮间距,但是这会造成钢筋弯曲的质量下降,同时也会使钢筋在弯曲过程中打滑,使经济性和稳定性都欠缺。
3.3 最终解决方案
综合上述发明原理,将原有的一对凹型轮更换为多对规格稍小的凹型轮,并且能够人工选择使用任意一对凹型轮进行工作,如图2所示。
结论
本文基于TRIZ理论,研究了手提式钢筋弯曲机的两凹型轮距离的调整问题,利用发明原理解决了设计中的技术冲突,进行了手提式钢筋弯曲机对于两凹型轮位置设置的创新设计;应用分割原理,提出了设置多组的凹型轮的解决方案,有效解决了凹型轮的距离可调的问题。
责编/马铭阳